NissanBook.ru
Автомобили Land Rover Автомобили Ford Автомобили Volkswagen Автомобили Skoda Автомобили LADA Автомобили Renault Автомобили Peugeot
Русский English
Български
Беларускі
Український
Српски
Hrvatski
Română
Polski
Slovenský
Magyar
В закладки Статьи Карта Контакты Поиск:
 
 
 
 
 
 
 
 
 
 
 
 
Almera Maxima Murano Pathfinder Patrol Primera Qashqai Serena Sunny Teana X-Trail Другие
Мурано 1 (2002-2007, бензин)
  • Главная
  • Мурано
  • Z50 (2002-2007)
  • Трансмиссия
  • Раздаточная коробка
  • Раздаточная коробка — проверка и регулировка

Раздаточная коробка — проверка и регулировка (Nissan Murano Z50)

0
  • Проверьте шестерни и валы шестерен на наличие износа, трещин, повреждений и заеданий.

Внимание: Если обнаружены повреждения на ведущей шестерне или на кольцевой шестерне, эти обе шестерни необходимо заменять в комплекте.

  • Проверьте подшипники на наличие заеданий, отслаивания металла, износа, коррозии, заклинивания и необычных шумов при вращении вручную, а также наличие других повреждений.

Внимание: При замене подшипника всегда заменяйте внутреннюю и наружную обоймы вместе.

  • Проверьте шайбы на наличие повреждений и следов износа.
  • Старые сальники необходимо выбросить и заменить новыми.
  • Если на кромках сальников обнаружены следы износа, повреждения или ослабление усилия прижима уплотнительных кромок, сальники необходимо заменить.

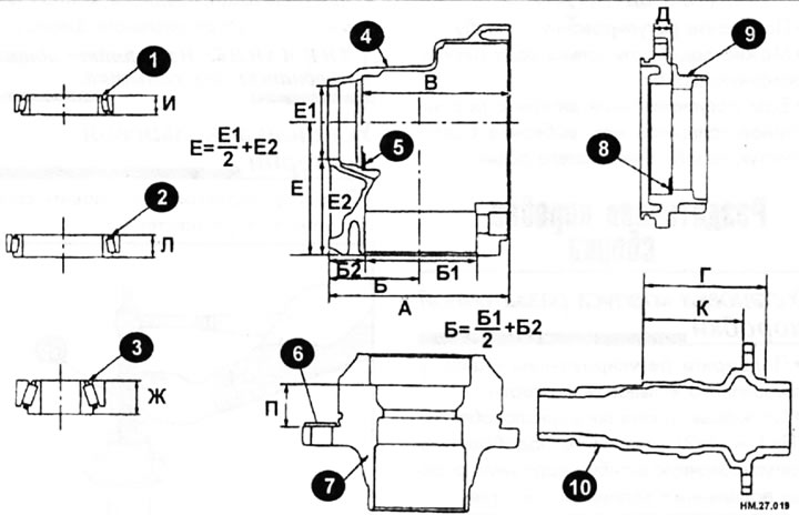
Подбор регулировочных шайб



Места измерения



1 — подшипник кольцевой шестерни (со стороны корпуса раздаточной коробки); 2 — подшипник кольцевой…

1 — подшипник кольцевой шестерни (со стороны корпуса раздаточной коробки); 2 — подшипник кольцевой шестерни (со стороны корпуса адаптера); 3 — передний подшипник ведущей шестерни; 4 — корпус раздаточной коробки; 5, 6, 8 — регулировочные шайбы; 7 — втулка ведущей шестерни; 9 — корпус адаптера; 10 — кольцевая шестерня.



  • Проведите измерения всех оасстояний.
  • С помощью арифметических расчетов, описанных далее, определите значения, обозначенные буквами А, Б, В, Г, Д, И, К, Л.

♦ А: это значение получается с помощью вычитания 163,00 мм из измеренной величины (с шагом 0,01 мм).

♦ Б: это значение получается с помощью вычитания 83,00 мм из измеренной величины (с шагом 0,01 мм).

♦ В: это значение получается с помощью вычитания 131,90 мм из измеренной величины (с шагом 0,01 мм).

♦ Г: это значение получается с помощью вычитания 109,50 мм из измеренной величины (с шагом 0,01 мм).

♦ Д; это значение получается с помощью вычитания 14,40 мм из измеренной величины (с шагом 0,01 мм).

♦ И: это значение получается с помощью вычитания 17,00 мм из измеренной величины (с шагом 0,01 мм).

♦ К: это значение получается с помощью вычитания 89,50 мм из измеренной величины (с шагом 0,01 мм).

♦ Л: это значение получается с помощью вычитания 17,00 мм из измеренной величины (с шагом 0,01 мм).
  • Определите размер М на боковой поверхности ведущей шестерни. Размер М соответствует разнице между оптимальным зацеплением и стандартными размерами с шагом 0,01 мм, написанными на боковой поверхности кольцевой шестерни.
  • Определите размер H, написанный на конце ведущей шестерни с зубцами. Размер Н соответствует разнице между оптимальным зацеплением и стандартными размерами с шагом 0,01 мм, написанными на конце ведущей шестерни с зубцами.
  • Рассчитайте толщину регулировочной шайбы по одной из формул:


Оригинал размещён на портале (www.NissanBook.ru)


♦ шайба (5) на корпусе раздаточной коробки: (В-А+Б+М-И)х0,01 мм+1,49мм.

♦ шайба (8) на корпусе адаптера: (Д+А-В-М+К-Л)х0,01 мм+1,49 мм.

♦ шайба (6) у втулки ведущей шестерни: (74,6 мм+Н)+Ж+П-Е.
  • Подберите регулировочную шайбу.
  • Можно подобрать только одну регулировочную шайбу.
  • Если регулировочной шайбы с рассчитанной толщиной нет, выберите более толстую шайбу ближайшего размера.


Эта статья доступна на: английском, болгарском, белорусском, украинском, сербском, хорватском, румынском, польском, словацком, венгерском
Статья была проверена: Филатов Макар
Отправить эту информацию вашим друзьям:

◀ Предыдущие
Мурано 1: Раздаточная коробка
Следующие ▶

Раздаточная коробка — разборка
Проверка раздаточной коробки до разборки
Раздаточная коробка — снятие и установка
Раздаточная коробка — сборка
Система полного привода (AWD)
Боковой сальник — снятие и установка
Вентиляционный шланг — снятие и установка
Схожая информация для других моделей Ниссан

➜ Проверка и регулировка привода сцепления Ниссан Санни 7 (1990-1998)
➜ Карбюратор — регулировка и проверка Ниссан Блюберд Т12 (1986-1991)
➜ Раздаточная коробка в сборе — двигатели MR20DE (МКП),… Ниссан Х-Трейл 2 (2007-2013, бензин)
➜ Педаль тормоза — проверка и регулировка Ниссан Ноут 1 (2004-2013)
➜ Коробка передач в сборе — проверка Ниссан Серена 2 (1999-2005)
➜ Раздаточная коробка (4WD) — устройство Ниссан Кашкай 1 (2006-2013)
Ссылка в разных форматах на эту статью
TEXTHTMLBB Code
Комментарии и отзывы посетителей
Комментариев пока нет


Сколько будет 47 + 14 ?

       





Мурано 1 (2002-2007, бензин) 
  • Общая информация
  • Введение в руководство
  • Техническое обслуживание
  • Силовой агрегат
  • Бензиновые двигатели
  • Капремонт двигателя
  • Система смазки
  • Система охлаждения
  • Топливная система
  • Управление двигателем
  • Выхлопная система
  • Трансмиссия
  • Вариатор (CVT)
  • Раздаточная коробка
  • Приводные валы
  • Задний мост
  • Шасси
  • Передняя подвеска
  • Задняя подвеска
  • Рулевое управление
  • Колеса и шины
  • Тормозная система
  • Кузов
  • Элементы кузова
  • Электрооборудование
  • Силовые устройства
  • Освещение и сигнализация
  • Оборудование и приборы
  • Электрические схемы
Автомобильный анекдот:
следующий анекдот
NissanBook.ru © 2018–2025 · Мобильная версия · Статьи о Ниссане · Карта сайта: EN BG BY UA RS HR RO PL SK HU · Обратная связь · Поиск по сайту · В закладки
Альмера 1 (N15) · Максима 4 (A32) · Мурано 1 (Z50, бензин) · Террано 1 (бензин) · Патрол 4 (Y60, бензин) · Примера 1 (P10, бензин) · Кашкай 1 (J10) · Серена 2 (C24) · Санни 7 (B13) · Блюберд Т12 () · Х-Трейл 2 (T31, бензин) · Ноут 1 · Микра 3 (бензин) · Автомобильные новости · Устройство автомобилей · ТО японских автомобилей · Электронные системы управления · Ремонт карбюраторов