Оглавление: Снятие ↓ Разборка ↓ Снятие и установка ↓ Разборка и сборка ↓ Проверка после снятия ↓ Проверка после разборки ↓ Проверка после установки ↓
Снятие
1. Головка цилиндров в сборе; 2. Болт головки цилиндров; 3. Прокладка головки цилиндров. См. ниже.
Разборка
1. Сухари; 2. Тарелка клапанной пружины; 3. Клапанная пружина (выпуск) (с гнездом клапанной пружины); 4. Сальник клапана; 5. Направляющая клапана (выпуск); 6. Седло клапана (выпуск); 7. Клапан (выпуск); 8. Клапан (впуск); 9. Седло клапана (впуск); 10. Головка цилиндров; 11. Направляющая клапана (впуск); 12. Свеча зажигания; 13. Клапанная пружина (впуск) (с гнездом клапанной пружины); А. См. ниже; В. См. ниже.
Снятие и установка
Снятие
1. Сбросьте давление топлива. См. главу "Система управления двигателем".
2. Слейте охлаждающую жидкость двигателя и моторное масло. См. главу "Система смазки и система охлаждения двигателя".
3. Снимите следующие компоненты.
- впускной коллектор; см. выше;
- впускной коллектор; см. выше;
- топливные форсунки и топливную трубку в сборе; см. выше;
- выпускной патрубок; см. главу "Система смазки и система охлаждения двигателя";
- клапанную крышку; см. выше;
- переднюю крышку цепь ГРМ см. выше;
- распредвалы; см. выше.
4. Снимите головку цилиндров.
- Ослабьте крепежные болты в порядке, обратном изображенному на рисунке.

- Ослабляйте болты головки цилиндров при помощи головки TORX (размер Е18).
5. Снимите прокладку с головки цилиндров.
Установка
1. Поставьте прокладку на головку цилиндров.
2. Установите головку цилиндров и затяните крепежные болты в порядке, указанном цифрами на рисунке следующим образом:

Внимание. В случае повторного использования болтов перед установкой проверьте их наружные диаметры. См. ниже.
а. Нанесите свежее моторное масло на резьбу и посадочную поверхность крепежных болтов.
b. Затяните все болты.
с. Затяните все болты на 100° по часовой стрелке (затяжка на угол).
Внимание. Проверьте угол затяжки ключом-угломером (специнструмент: KV10112100) (А) или транспортиром. Избегайте оценки на глаз без использования инструментов.

d. Полностью ослабьте.
Внимание. В пункте «d» ослабьте крепежные болты в порядке, обратном изображенному на рисунке.
е. Затяните все болты.
f. Затяните все болты на 100° по часовой стрелке (затяжка на угол).
g. Затяните все болты еще на 100° по часовой стрелке (затяжка на угол).
3. После этой операции установка выполняется в порядке обратном снятию.
Разборка и сборка
Разборка
1. Выверните свечи зажигания при помощи ключа (подходящий специнструмент).
2. Снимите толкатели клапанов.
- Нанесите метки по местам расположения и складывайте компоненты по порядку не смешивая их.
3. Выньте сухари.
- Сожмите клапанную пружину при помощи приспособления, приставки и переходника (специнструмент KV10116200) (А). Извлеките сухари при помощи пальчикового магнита.

Внимание. При проведении работ не повредите отверстие под толкатели клапанов.
4. Снимите тарелку клапанной пружины и клапанную пружину (с гнездом клапанной пружины).
Внимание. Не вынимайте гнездо клапанной пружины из клапанной пружины.
5. Надавите на шток клапана в сторону камеры сгорания и выньте клапан.
- Нанесите метки по местам расположения и складывайте компоненты по порядку, не смешивая их.
6. Снимите сальник клапана при помощи съемника (специнструмент KV10107902) (А).
7. Если требуется заменить седло клапана.

Высверлите старое седло до его разрушения. Высверливание не должно продолжаться глубже дна выемки под седло в головке цилиндров. С этой целью поставьте на дрель ограничитель глубины сверления. См. ниже раздел «Технические данные и спецификации».
Внимание. Не поцарапайте головку цилиндров чрезмерным высверливанием.
8. Если требуется заменить направляющую втулку клапана:
а. Снимите направляющую втулку клапана нагрев головку цилиндров до 110-130°C путем ее погружения в горячее масло(А).

b. Выбейте направляющую втулку клапана при помощи молотка и выколотки (подходящий специнструмент).

Внимание. Головка цилиндров горячая. Чтобы не обжечься при проведении работ, наденьте защитную одежду.
Сборка
1. Если снималась направляющая втулка клапана, установите ее.
Внимание. Замените её направляющей увеличенного ремонтного размера (на 0,2 мм).
а. Выполните развертку отверстия под направляющую втулку клапана в головке цилиндров при помощи развертки (подходящий специнструмент) (А) (см. рис.).
- Диаметр отверстия под направляющую втулку клапана (увеличенного на 0,2 мм ремонтного размера), см. ниже раздел "Технические данные и спецификации".

b. Нагрейте головку цилиндров до 110-130°C, погрузив ее в горячее масло (А).

с. Запрессуйте направляющую втулку клапана (1) со стороны распредвала, руководствуясь размерами, показанными на рисунке.

2. Головка цилиндров.
Выступ «Н»: См. ниже раздел «Технические данные и спецификации».
Внимание. Головка цилиндров горячая. Чтобы не обжечься при проведении работ, наденьте защитную одежду.
d. При помощи развертки (подходящий специнструмент) (А) выполните доводку поверхности направляющей втулки клапана.

Стандарт: См. ниже раздел «Технические данные и спецификации».
2. Если снималось седло клапана установите его.
Внимание. Замените его седлом клапана увеличенного ремонтного размера (на 0,5 мм).
а. Выполните развертку выемки (1) в головке цилиндров под седло клапана ремонтного размера.

2. Седло клапана.
Диаметр выемки в головке цилиндров под седло клапана (увеличенного на 0,5 мм ремонтного размера): см. ниже раздел «Технические данные и спецификации».
- Выполняйте развертку концентрическими кругами к центру направляющей втулки клапана. Это обеспечит правильную посадку седла клапана.
b. Нагрейте головку цилиндров до 110-130°C погрузив ее в горячее масло (А).

с. Хорошо охладите седла клапанов сухим льдом. Запрессуйте седла клапанов в головку цилиндров.
Внимание.
- Не прикасайтесь к охлажденным седлам голыми руками.
- Головка цилиндров горячая. Чтобы не обжечься при проведении работ, наденьте защитную одежду.
d. Доведите седло до требуемых размеров путем фрезеровки или шлифовки при помощи подходящего специнструмента. См. размеры ниже в разделе «Технические данные и спецификации».

Внимание. При обработке поверхности фрезой возьмитесь за рукоятку обеими руками. Затем прижмите фрезу к контактной поверхности по всей окружности и фрезеруйте одиночными проходами. Если прижимать инструмент неравномерно или с отрывом, седло клапана может принять ступенчатую форму.
е. Выполните притирку клапана с помощи шлифовальной пасты.
f. Проведите повторную проверку прилегания клапана. См. ниже.
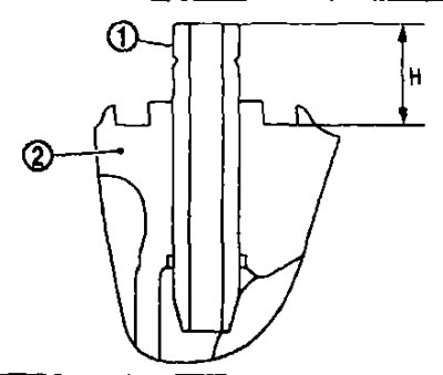
3. Запрессуйте сальник клапана.
- Запрессуйте сальник клапана при помощи выколотки (специнструмент KV10115600) (А) по размерам указанным на рисунке.

Примечание. Размер «Н» представляет собой высоту, измеренную перед установкой клапанной пружины (с гнездом клапанной пружины).
Высота «Н»: 15,1-15,7 мм.
4. Установите клапан.
- Устанавливайте клапаны большего диаметра со стороны впуска.
5. Установите клапанную пружину (с гнездом клапанной пружины).
- Устанавливайте пружину стороной узким шагом витков (стороной гнезда клапанной пружины) к головке цилиндров (В).
- Проверьте цветовую маркировку клапанной пружины(А).
Впуск: зеленый цвет.
Выпуск: фиолетовый цвет.

1. Гнездо клапанной пружины (не снимайте с клапанной пружины).
6. Установите тарелку клапанной пружины.
7. Установите сухари.
- Сожмите клапанную пружину при помощи приспособления, приставки и переходнике (специнструмент KV10116200) (А) (см. рис.). Поставьте сухари при помощи пальчикового магнита.
Внимание. При проведении работ не повредите отверстия под толкатели клапана.
- После установки компонентов клапана для обеспечения правильной посадки, слегка постучите по кончику штока клапана пластиковым молотком.

8. Установите толкатели клапанов.
- Устанавливайте их в первоначальное положение.
9. Вверните свечи зажигания при помощи ключа (подходящий специнструмент).
Проверка после снятия
Наружный диаметр болтов головки цилиндров.
- Болты головки цилиндров затягиваются способом пластичной зоны. Если разность между «d1» и «d2» превышает предельное значение, замените болты новыми.

Предел «d1» - «d2»: 0,15 мм.
- Если сужение наружного диаметра обнаруживается в месте, отличном от «d2», обозначьте его как точку «d2».
[Смотрите оригинал на ресурсе: NissanBook.ru]
Коробление головки цилиндров
Примечание. При проведении данной проверки следует также проверить, не покороблен ли блок цилиндров. См. ниже раздел «Технические данные и спецификации».
1. Вытрите масло и при помощи скребка удалите накипь остатки прокладки, герметика и нагар с поверхности головки цилиндров.
Внимание. Не допускайте попадание остатков прокладки в каналы для подвода масла или охлаждающей жидкости двигателя.
2. При помощи линейки (А) и щупа (В) проверьте, на покороблена ли нижняя поверхность головки цилиндров, выполнив измерения в шести направлениях.

Предел: См. ниже раздел «Технические данные и спецификация».
- Если коробление превышает предельное значение, замените головку цилиндров.
Проверка после разборки
Размеры клапана
- Проверьте размеры всех клапанов. См. размеры ниже в разделе «Технические данные и спецификации».
- Если размеры отличаются от нормы, замените клапан и проверьте пятно контакта седла клапана.
Зазор направляющей втулки клапана
Диаметр штока клапана.
Измерьте диаметр штока клапана микрометром (А).

Стандарт: См. ниже раздел «Технические данные и спецификации».
Внутренний диаметр направляющей втулки клапана.
Измерьте внутренний диаметр направляющей втулки клапана нутромером.
Стандарт: См. ниже раздел «Технические данные и спецификации».
Зазор направляющей втулки клапана.
(Зазор направляющей втулки клапана) - (внутренний диаметр направляющей втулки клапана) - (диаметр штока клапана).
Стандарт и предел: См. ниже раздел «Технические данные и спецификации».
- Если полученное значение превышает предельное замените клапан и/или направляющую втулку клапана. Если требуется заменить направляющую втулку клапана, см. выше раздел «Разборка и сборка».
Пятно контакта седла клапана
- Выполняйте эту проверку убедившись, что размеры направляющих втулок клапанов и самих клапанов в пределах нормы.
- Нанесите свинцовый сурик (или свинцовые белила) не контактную поверхность седла клапана и проверьте прилегание клапана к седлу.
- Убедитесь что отпечаток свинцового сурика проявляется по всей окружности без разрывов.
А. Нормально; В. Ненормально
- В противном случае добейтесь требуемой степени прилегания клапана путем его перешлифовки и проведите проверку повторно. Если контактная поверхность все еще в неудовлетворительном состоянии даже после повторной проверки, замените седло клапана. См. выше.
Прямоугольность клапанной пружины
- Приложите уголок (А) к клапанной пружине и вращайте пружину. Измерьте максимальный зазор между вершиной пружины и уголком.
В. Точка касания
Предел: См. ниже раздел «Технические данные и спецификации».
- Если зазор превышает предельное значение замените клапанную пружину.
Размеры и усилие сжатия клапанной пружины
- Проверьте усилие сжатия клапанной пружины с установленным гнездом при стандартной высоте пружины.
Внимание. Не вынимайте гнездо клапанной пружины из клапанной пружины.

Стандарт: См. ниже раздел «Технические данные и спецификации».
- Если нагрузка после установки или при открытом клапане отличается от нормы, замените клапанную пружину (с гнездом клапанной пружины).
Проверка после установки
Проверка утечек
- Ниже приведены процедуры проверки утечек жидкостей моторного масла и выхлопных газов.
- Перед запуском двигателя проверьте уровень масла/жидкостей включая охлаждающую жидкость двигателя и моторное масло. Если уровень ниже нормы долейте и доведите до требуемого уровня. См. главу "Техническое обслуживание".
- Проверьте, нет ли утечек топлива следующим образом. Поверните ключ зажигания в положение ON (не запуская двигатель). Создав давление в топливопроводах, проверьте, нет ли утечек топлива на стыках. Запустите двигатель. Увеличивая обороты двигателя, снова проверьте, нет ли утечек топлива на стыках топливопровода.
- Дайте поработать двигателю и проверьте, нет ли необычного шума или вибрации.
- Хорошо прогрейте двигатель и проверяя, нет ли утечек топлива, выхлопных газов или масла жидкостей включая моторное масло и охлаждающую жидкость двигателя.
- Выпустите воздух из трубок и шлангов соответствующих систем, например системы охлаждения.
- После того как двигатель охладится, снова проверьте уровень масла/жидкостей, включая моторное масло и охлаждающую жидкость двигателя. При необходимости долейте и доведите до требуемого уровня.
Таблица проверок
| Компонент | Перед запуском двигателя | При работающем двигателе | После остановки двигателя |
| Охлаждающая жидкость двигателя | Уровень | Утечка | Уровень |
| Моторное масло | Уровень | Утечка | Уровень |
| Прочие масла и жидкости* | Уровень | Утечка | Уровень |
| Топливо | Утечка | Утечка | Утечка |
| Выхлопные газы | — | Утечка | — |
* Жидкость для МКП АКП CVT гидроусилителя рулевого управления тормозная жидкость и т.д.