Русский
English
Български
Беларускі
Український
Српски
Hrvatski
Română
Polski
Slovenský
Magyar
В закладки
Статьи
Карта
Контакты
Поиск:
Almera
Maxima
Murano
Pathfinder
Patrol
Primera
Qashqai
Serena
Sunny
Teana
X-Trail
Другие
Кашкай 1
(2006-2013)
Главная
Кашкай
J10
(2006-2013)
Трансмиссия
Раздаточная коробка и валы
Раздаточная коробка (4WD) — устройство
Раздаточная коробка (4WD) — устройство
(Nissan Qashqai J10)
0
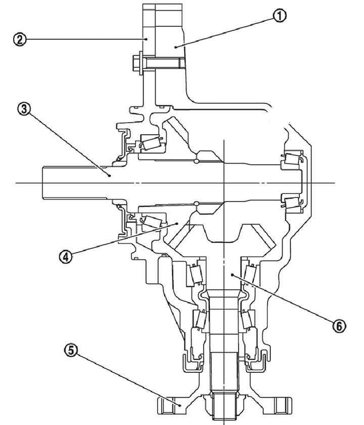
1. Картер раздаточной коробки.
2. Переходной картер.
3. Вал кольцевой шестерни.
4. Кольцевая шестерня.
5. Соединительный фланец.
6. Ведущая шестерня (вал-шестерня).
Эта статья доступна на:
английском
,
болгарском
,
белорусском
,
украинском
,
сербском
,
хорватском
,
румынском
,
польском
,
словацком
,
венгерском
Статья была проверена:
Кузнецова Валерия
Отправить эту информацию вашим друзьям:
◀ Предыдущие
Кашкай 1: Раздаточная коробка и валы
Следующие ▶
Снятие и установка блока управления полным приводом (4WD)
Блок управления полным приводом (4WD) — устройство
Ступицы задних колес
Приводные валы (передние и задние)
Ступицы передних колес и поворотные кулаки
Раздаточная коробка в сборе (4WD) — устройство
Снятие и установка раздаточной коробки в сборе (4WD)
Компоненты раздаточной коробки (4WD) — устройство
Компоненты раздаточной коробки (4WD) — проверки после разборки
Регулировка бокового зазора раздаточной коробки (4WD)
Схожая информация для других моделей Ниссан
➜ Раздаточная коробка в сборе — двигатели MR20DE (МКП),…
Ниссан Х-Трейл 2 (2007-2013, бензин)
➜ Коробка передач в сборе — устройство
Ниссан Серена 2 (1999-2005)
➜ Раздаточная коробка — общая информация
Ниссан Патрол 4 (1987-1997, бензин)
➜ Раздаточная коробка — снятие и установка
Ниссан Мурано 1 (2002-2007, бензин)
➜ Раздаточная коробка — снятие и установка
Ниссан Террано 1 (1986-1995, бензин)
➜ Механическая коробка передач — снятие и установка
Ниссан Ноут 1 (2004-2013)
Ссылка в разных форматах на эту статью
TEXT
HTML
BB Code
Статья о ремонте японских автомобилей Ниссан Кашкай 1 (2006-2013): Раздаточная коробка (4WD) — устройство: https://www.nissanbook.ru/Qashqai/J10/transmission/shaft/razdatochnaya-korobka-4wd-ustroystvo
Ниссан Кашкай 1 (2006-2013): Раздаточная коробка (4WD) — устройство
- статья на сайте www.NissanBook.ru о ремонте японских автомобилей компании Nissan.
[url=https://www.nissanbook.ru/Qashqai/J10/transmission/shaft/razdatochnaya-korobka-4wd-ustroystvo]Ниссан Кашкай 1 (2006-2013): Раздаточная коробка (4WD) — устройство[/url] - статья на сайте www.NissanBook.ru о ремонте японских автомобилей компании Nissan.
Комментарии и отзывы посетителей
Комментариев пока нет
Сколько будет 17 + 15 ?
Кашкай 1
(2006-2013)
Общая информация
Неисправности в пути
Ежедневные проверки
Руководство по эксплуатации
Техническое обслуживание
Силовой агрегат
Бензиновые двигатели 1.6 л (HR16)
Бензиновые двигатели 2.0 л (MR20)
Дизельные двигатели 1.5 л (K9K)
Дизельные двигатели 2.0 л (M9R)
Система охлаждения
Система смазки двигателя
Система питания двигателя
Система управления двигателем
Система впуска и выпуска
Электрооборудование двигателя
Трансмиссия
Сцепление
Коробка передач
Раздаточная коробка и валы
Шасси
Подвеска автомобиля
Тормозная система
Рулевое управление
Кузов
Экстерьер (внешние элементы)
Интерьер (внутренние элементы)
Система безопасности
Отопление и кондиционирование
Электрооборудование
Жгуты электропроводки
Автомобильный анекдот:
следующий анекдот
Для улучшения работы сайта используются cookie. 💻 Продолжайте, соглашаясь с условиями.
Продолжить