Оглавление: Снятие и установка ↓ Проверка внешнего вида ↓ Проверка биения ↓ Осевой люфт шарнира ↓ Центральный подшипник ↓
1. Карданный вал в сборе; 2. Крепежный кронштейн центрального подшипника (верхний); 3. Зажим; 4. Крепежный кронштейн центрального подшипника (нижний)
Снятие и установка
Снятие
1. Переведите коробку передач в нейтральное положение и отпустите стояночный тормоз.
2. Снимите следующие компоненты:
- основной глушитель; см. главу «Акселератор, топливная система и системы выпуска»;
- переднюю выхлопную трубу; см. главу «Акселератор, топливная система и системы выпуска» (MR20DE);
- центральную выхлопную трубу; см. главу «Акселератор, топливная система и системы выпуска» (QR25DE).
3. Нанесите метки совмещения на вилку соединительного фланца заднего карданного вала и соединительные фланцы задней главной передачи и раздаточной коробки.

Внимание. Наносите метки краской. Не повредите вилку соединительного фланца заднего карданного вала и соединительный фланец раздаточной коробки.
4. Ослабьте крепежные гайки крепежных кронштейнов центрального подшипника.

Внимание. Затените крепежные гайки от руки.
5. Открутите крепежные болты и гайки карданного вала.
6. Открутите крепежные гайки крепежного кронштейна центрального подшипника.
7. Снимите карданный вал в сборе.
Внимание. Если при снятии, установке или переноске карданного вала в сборе Вы сгибали шарнир равных угловых скоростей (ШРУС), то могли повредить его чехол. Для предохранения чехла от поломки обмотайте салфеткой или куском резины участки соприкосновения чехла с металлическими частями.
8. Выньте зажимы и снимите крепежный кронштейн центрального подшипника (верхний/нижний).
Установка
Установка выполняется в порядке, обратном снятию с учетом следующего:
- Установите крепежный кронштейн центрального подшипника (верхний) (1) стрелкой (А) вперед.
- Во избежание смещения изолятора центрального подшипника (3) в продольном направлении отрегулируйте положение крепежного кронштейна (1), (2) подвигав его вперед и назад. Установите крепежный кронштейн центрального подшипника (верхний/нижний) на автомобиль.

- Совместите метки, пристыкуйте карданный вал к соединительным фланцам главной передачи и раздаточной коробки.
- После сборки проведите дорожное испытание и проверьте биение карданного вала. При обнаружении биения отделите карданный вал от главной передачи. Снова закрепите соединительный фланец, провернув его на 90, 180 и 270°. Затем повторно проведите дорожное испытание и проверьте биение карданного вала в каждой точке
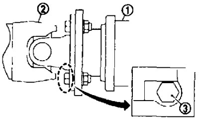
- Затянув болты и гайки с требуемым моментом убедитесь, что болты (3) со стороны соединительного фланца затянуты, как показано на рисунке.
1. Главная передача в сборе; 2. Карданный вал в сборе.
В случае замены карданного вала или главной передачи в сборе, установите их следующим образом:
- Поверните метку (А) на соединительном фланце главной передачи (1) вверх. Удерживая метку (А) сверху, пристыкуйте карданный вал к главной передаче так, чтобы метку (В) на карданном валу (2) можно было расположить как можно ближе к метке (С) на соединительном фланце главной передачи.

- Затяните крепежные болты и гайки карданного вала и главной передачи с требуемым моментом.
Проверка внешнего вида
Проверьте, не погнут ли и не поврежден ли карданный вал. При необходимости замените карданный вал в сборе.
Проверка биения
Проверьте биение карданного вала в точках измерения. Если оно превышает указанный предел, замените карданный вал в сборе. Точки измерения см. выше.

Предельное биение См. ниже раздел «Технические данные и спецификации».
Осевой люфт шарнира
Зафиксировав вилку соединительного фланца с одной стороны, как показано на рисунке, проверьте осевой люфт шарнира. Если люфт отличается от нормы, замените карданный вал в сборе.

Стандартный люфт шарнира. См. ниже раздел «Технические данные и спецификации».
Внимание. Не разбирайте шарниры.
(Для уточнений смотрите сайт nissanbook.ru)
Центральный подшипник
Если от центрального подшипника исходит необычный шум или есть повреждения, замените карданный вал в сборе.
Внимание. Не разбирайте центральный подшипник.