Змест: Пярэднія дзверы ↓ Заднія дзверы ↓
Пярэднія дзверы
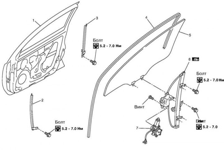
Кампаненты ўсталёўкі шкла і шклапад'ёмніка перадпакояў дзверы
1 - Дзверы; 2/3 - Ніжняя перадпакой/задняя накіроўвалая; 4 - Верхняя накіроўвалая; 5 - Шклопад'ёмнік; 6 - Вінт
1. Зніміце панэль аздаблення дзвярэй (гл. Раздзел Зняцце і ўстаноўка панэляў аздаблення дзвярэй) і цалкам падніміце шкло.
2. Раз'яднайце раз'ём пярэдняга дынаміка і зніміце ўшчыльненне.

3. На 5-дзвярных мадэлях зніміце ўнутраную раму перадпакояў дзверы.
4. На мадэлях з сістэмай "Intelligent Key" зніміце зумер.
5. Вывярніце балты мацавання ніжняй задняй накіроўвалай, ссуньце ніжнюю частку накіроўвалай наперад і выцягніце яе з дзвярэй.

6. Прытрымваючы шкло рукой і аперуючы перамыкачом шклапад'ёмніка, усталюеце шкло ў становішча, у якім будуць даступныя яго крапежныя ніты. Вывярніце балты мацавання шкла.
7. Выміце шкло з дзвярэй вонкі, пацягнуўшы за яго задні бок.

8. Раз'яднайце раз'ём і вывярніце балты мацавання э/матора шклапад'ёмніка. Зніміце зборку шклапад'ёмніка.
9. Зніміце ніжнюю пярэднюю накіравальную шкла аналагічна задняй.
10. Зніміце кутнюю накладку і верхнюю накіроўвалую.
11. Устаноўка праводзіцца ў зваротным парадку.
(Глядзіце арыгінал на рэсурсе NISSANBOOK.RU)

12. Пасля ўстаноўкі запраграмуйце шклопад'ёмнік. Для гэтага цалкам падніміце шкло, затым, націскаючы на выключальнік скіду, цалкам апусціце шкло. Адпусціце выключальнік. Пасля таго як ён вернецца ў зыходнае становішча, падніміце шкло.
Заднія дзверы
Кампаненты ўстаноўкі шкла і шклапад'ёмніка задняй дзверы
1 - Дзверы; 2 - Накіроўвалая фіксаванага шкла; 3 - Накіроўвалая рухомага шкла; 4 - Ушчыльненне; 5 - Шкло; 6 - Фіксаванае шкло дзвярэй; 7 - Шклопад'ёмнік
1. Зніміце панэль аздаблення дзвярэй (гл. Раздзел Зняцце і ўстаноўка панэляў аздаблення дзвярэй), раз'яднайце раз'ём электраправодкі задняга дынаміка і зніміце ўшчыльненне.

2. Вывярніце балты і шрубы мацавання накіроўвалай фіксаванага шкла, пацягніце яе ўніз, адцягніце верхні бок і зніміце накіроўвалую.
3. Зніміце фіксаванае шкло, пацягнуўшы яго ў напрамку да перадка аўтамабіля.

4. Прытрымваючы шкло рукой і аперуючы перамыкачом шклапад'ёмніка, усталюеце шкло ў становішча, у якім будуць даступныя яго крапежныя ніты.
5. Вывярніце балты мацавання шкла і выміце шкло з дзвярэй, пацягнуўшы яго верх.

6. Раз'яднайце раз'ём, вывярніце балты мацавання зборкі шклапад'ёмніка і зніміце яе.
7. Зніміце накіроўвалую рухомага шкла.
8. Устаноўка праводзіцца ў зваротным парадку.