Оглавление: Гидравлическая система ↓ Главный тормозной цилиндр (ГТЦ) ↓ Вакуумный усилитель тормозов ↓ Стояночный тормоз ↓ Обслуживание ↓ Меры предосторожности ↓
Схема гидравлического тормозного контура моделей без ABS
1 - Передний тормозной механизм; 2 - Задний тормозной механизм; 3 - Неразборный ограничитель давления; 4 - ГТЦ
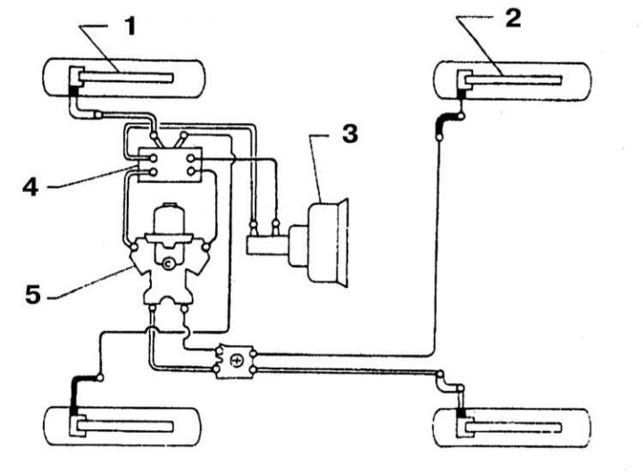
Схема гидравлического тормозного контура моделей, оборудованных ABS типа L.S.V.
1 - Передний тормозной механизм; 2 - Задний тормозной механизм; 3 - ГТЦ; 4 - Модулятор давления ABS; 5 - Чувствительный к нагрузке клапан
Схема гидравлического тормозного контура моделей, оборудованных ABS типа D.V.P.
1 - Передний тормозной механизм; 2 - Задний тормозной механизм; 3 - ГТЦ; 4 - Модулятор давления ABS; 5 - Двухходовой регулятор давления
Все рассматриваемые в настоящем Руководстве модели автомобилей оборудованы гидравлической тормозной системой с вакуумным усилением. На передние колеса всегда устанавливаются дисковые тормозные механизмы, тогда как механизмы задних колес могут иметь как дисковую (модели с 1995 г.. вып.), так и барабанную (модели 1993 и 1994 г.г. вып.) конструкцию.
Все тормозные механизмы оборудованы саморегуляторами. При этом компенсация износа тормозных колодок дисковых механизмов (передних и задних) осуществляется автоматически, тогда как, на барабанные тормозные механизмы установлены специальные регулировочные устройства, активация которых происходит при взведении стояночного тормоза.
Гидравлическая система
Сдвоенная конструкция оборудованного двумя раздельными резервуарами главного тормозного цилиндра (ГТЦ) позволяет разбить гидравлический тракт на два, действующих независимо друг от друга, контура. Последнее означает, что в случае отказа одного из контуров, второй продолжает работать в прежнем режиме, обеспечивая адекватное торможение автомобиля. Гидравлические контуры имеют диагональное расположение и отказ любого из них, естественно, ведет к снижению эффективности торможения и сопровождается срабатыванием контрольной лампы на приборном щитке при выжимании педали ножного тормоза.
Главный тормозной цилиндр (ГТЦ)
ГТЦ установлен на сборке сервопривода вакуумного усилителя тормозов, закрепленной на задней переборке двигательного отсека. Сверху на цилиндре расположен большой резервуар гидравлической жидкости, оборудованный пластмассовой крышкой. Резервуар крепится в цилиндре при помощи проходных втулок и цилиндрического штифта.
Как уже упоминалось выше, ГТЦ имеет сдвоенную конструкцию, обеспечивающую функционирование двух независимых гидравлических контуров. Давление жидкости в каждом из контуров нагнетается индивидуальным поршнем внутри главного цилиндра. Установленный на переборке двигательного отсека двухходовой клапан-регулятор обеспечивает необходимый баланс гидравлических усилий, развиваемых в тормозных механизмах передних и задних колес.
Вакуумный усилитель тормозов
Усилитель использует создаваемое во впускном трубопроводе разрежение для повышения эффективности функционирования гидропривода тормозной системы. Сервопривод вакуумного усилителя закреплен на задней переборке двигательного отсека внутри последнего.
Стояночный тормоз
Тросовый привод стояночного тормоза подведен к тормозным механизмам задних колес автомобиля. Взведение и отпускание тормоза обеспечивается посредством установленного на центральной консоли рычага.
Обслуживание
По завершении любой из процедур обслуживания, связанной со снятием или разборкой какого-либо из компонентов тормозной системы в обязательном порядке проверяйте эффективность функционирования тормозной системы и лишь удостоверившись в полной исправности ее срабатывания, приступайте к эксплуатации автомобиля. Ходовые испытания следует производить на чистом сухом и ровном дорожном покрытии.
[Данные размещены на сайте nissanbook]
Проверьте эффективность торможения транспортного средства на различных скоростях движения и различных усилиях выжимания педали ножного тормоза. Автомобиль должен тормозиться равномерно, сохраняя при этом курсовую устойчивость. Старайтесь не допускать преждевременной блокировки колес, чреватой потерей контроля над управлением.
Помните, что к числу факторов, оказывающих воздействие на эффективность торможения транспортного средства, относятся состояние и давление накачки шин, уровень загрузки автомобиля и правильность геометрии подвески.
Меры предосторожности
При обслуживании компонентов тормозной системы автомобилей следует соблюдать некоторые особые меры предосторожности:
- a) Для заправки тормозной системы используйте только гидравлическую жидкость класса DOT 3;
- b) Фрикционные накладки тормозных колодок/башмаков могут содержать вредный для здоровья асбест. Старайтесь не вдыхать тормозную пыль, не сдувайте ее сжатым воздухом. Для протирки компонентов тормозных механизмов применяйте только специальные чистящие составы;
- c) Следите за соблюдением всех требуемых допусков и усилий затягивания крепежа. При обслуживании компонентов пользуйтесь только исправным инструментом. При малейших сомнениях обращайтесь за помощью к специалистам. Помните, что исправность функционирования тормозов является залогом безопасности движения;
- d) При малейших признаках нарушения исправности функционирования тормозной системы эксплуатация автомобиля должна быть приостановлена!