Оглавление: Модели с карбюраторным двигателем ↓ Модели "Phase I" (модель выпуска…↓ Все остальные модели с впрыском…↓
Модели с карбюраторным двигателем
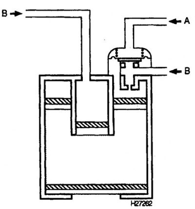
Идентификация соединений шлангов угольного фильтра

Проверка
1. Если Вы считаете, что система неисправна, отсоедините шланги от угольного фильтра и термовакуумного клапана, и продуйте их.
2. Для проверки термовакуумного клапана, который установлен на правой стороне впускного коллектора, когда двигатель холодный отсоедините от клапана оба шланга. Подсоедините шланг к одному из патрубков клапана и подуйте в него. Клапан должен быть закрыт и не должен пропускать воздух. Запустите двигатель и прогрейте его до нормальной рабочей температуры. Снова подуйте в шланг; клапан должен быть открыт и воздух должен проходить свободно. Если клапан не работает так, как было описано выше, замените его.
3. Угольный фильтр расположен в правом заднем углу двигательного отсека. Угольный фильтр и его клапана можно проверить следующим образом.
4. Пройдитесь вдоль шланга "А" от угольного фильтра и отсоедините его от тройникового соединения. Запустите двигатель и попробуйте втянуть в себя воздух из шланга; клапан не должен пропускать воздух, а скорость работы двигателя должна немного увеличиться. Подсоедините шланг обратно к тройниковому соединению.
5. Пройдитесь вдоль шланга "С" от угольного фильтра и отсоедините его от поплавковой камеры карбюратора. Запустите двигатель и подуйте в шланг; клапан не должен пропускать воздух. Подсоедините шланг обратно к карбюратору.
6. Пройдитесь вдоль шланга "В" от угольного фильтра и отсоедините его от впускного коллектора. Когда двигатель заглушен, подуйте в шланг и потяните в себя воздух из шланга; клапан не должен пропускать воздух ни в одном направлении. Подсоедините шланг обратно к впускному коллектору.
7. Если при проведении проверок, описанных в пп. 4–6, была утечка воздуха через какой-либо из шлангов, угольный фильтр и его клапана необходимо заменить.
Модели "Phase I" (модель выпуска 1993 года, до июня) с двигателем объемом 2,0 л и многоточечной системой впрыска топлива
Проверка
1. Если Вы считаете, что система неисправна, отсоедините шланги от угольного фильтра, установленного в правом заднем углу двигательного отсека, и продуйте их.

2. Угольный фильтр и его клапана можно проверить следующим образом. Отсоедините шланги от угольного фильтра и подуйте в патрубок "А"; клапан не должен пропускать воздух. Продуйте каждый из патрубков "В" по очереди. Оба канала должны быть открыты, и свободно пропускать воздух. Если проверки не дали ожидаемых результатов, угольный фильтр и клапана необходимо заменить.
Все остальные модели с впрыском топлива
Проверка
1. Если Вы считаете, что система неисправна, отсоедините шланги от угольного фильтра и электромагнитного клапана, и продуйте их. На моделях с двигателем объемом 1,6 литра, угольный фильтр расположен в левом заднем углу двигательного отсека, а электромагнитный клапан расположен на задней стороне впускного коллектора. На моделях с двигателем объемом 2,0 литра, угольный фильтр расположен на левой стороне двигательного отсека, а электромагнитный клапан расположен на левой или нижней стороне впускного коллектора.

2. Электромагнитный клапан можно проверить используя приведенную схему соединений.
Если необходимо, снимите клапан, руководствуясь инструкциями, приведенными в подразделе 6.4.2.3.3, для улучшения доступа.
3. Подуйте в патрубок "А" и проверьте, чтобы через него не проходил воздух. Подуйте в патрубок "В" и проверьте, чтобы воздух проходил через этот патрубок и выходил из патрубка "С".
4. Через предохранитель подсоедините источник питания на 12 Вольт к электромагнитному клапану так, как показано на рисунке. После подачи напряжения, подуйте в патрубок "А" и проверьте, чтобы воздух проходил через клапан и выходил из патрубка "В". Подуйте в патрубок "В" и проверьте, чтобы воздух проходил через клапан и выходил из патрубка "С".
5. Если электромагнитный клапан не работает так, как ожидалось, значит, он неисправен, и его необходимо заменить.
6. Угольный фильтр и клапана можно проверить так, как описано выше.