Функции, выполняемые рабочей жидкостью
- Передача тягового усилия в качестве рабочей жидкости гидротрансформатора.
- Смазка шестерен и участков с подшипниками.
- Служит в качестве смазки и рабочего масла для муфт и тормозов.
- Поглощение ударов при переключении скоростей.
- Рабочее масло для корпуса затворов.
Свойства, которые должна иметь жидкость для вариатора
- Должна обладать таким оптимальным коэффициентом трения, чтобы удар при сцеплении муфты не был сильным, и муфта не пробуксовывала.
- Не должна легко вспениваться.
- При низкой температуре должна иметь хорошую подвижность.
- Изменение вязкости должно быть незначительным.
- Должна быть термостойкой, не окисляться и не давать осадка.
- Не должна разрушать уплотнители.
Проверка уровня жидкости
Поскольку жидкость для вариатора расширяется при нагревании, уровень жидкости следует проверять только на теплом вариаторе (при нормальной рабочей температуре). Если автомобиль прошел более 30 км, вариатор можно считать теплым.
Если автомобиль находился в движении, дайте вариатору остыть около 30 минут. Уровень жидкости можно также проверить и на холодном вариаторе. Если после остановки автомобиля прошло не более пяти часов и температура жидкости почти комнатная (22-35°C), вариатор считается холодным. Однако для получения точных результатов уровень жидкости обычно измеряется на теплом вариаторе.
Внимание: Если автомобиль долгое время двигался с высокой скоростью или по городскому циклу, в жаркую погоду, или он транспортировал прицеп или трейлер, то точное значение уровня жидкости получено быть не может.
- Проверьте наличие утечек жидкости.
- Когда двигатель прогрет, совершите небольшую поездку. Если, например, температура окружающего воздуха составляет 20°C, для разогрева рабочей жидкости вариатора до 50-80°C необходимо около 10 минут.
- Остановите автомобиль на ровной поверхности.
- Плотно затяните стояночный тормоз.
- Когда двигатель работает на холостом ходу, а педаль тормоза нажата, переместите рычаг селектора вариатора через все диапазоны.
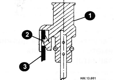
- Чтобы освободить измерительный щуп (1), используемый для определения уровня жидкости в вариаторе, нажмите язычок (2) на щупе. Вытащите щуп из направляющей трубки (3), через ту же трубку заправляется вариатор рабочей жидкостью.

- Протрите измерительный щуп, поверните его но 180° и вставьте так, чтобы он дошел до конца направляющей трубки.
Внимание: Для протирки щупа пользуйтесь бумажными салфетками.
Когда измерительный щуп (1) вставляется в направляющую трубку (2) после определения уровня жидкости, придавите его так, чтобы он надежно защелкнулся.

- Переведите рычаг селектора вариатора в диапазон Р или N, выньте щуп и убедитесь, что уровень жидкости правильный. Он должен находиться между MIN и МАХ отметками на щупе (стрелки).

Внимание: Низкий уровень жидкости может привести к пробуксовке и к потере управления, а переполнение - к пенообразованию и потере жидкости.
Если уровень жидкости необычно низкий, долейте жидкость так, чтобы ее уровень поднялся до обозначенного на измерительном щупе значения, а затем проверьте наличие следов утечек жидкости.
Если уровень жидкости необычно высок, слейте излишек, а затем проверьте слитую жидкость на наличие в ней охлаждающей жидкости. Наличие охлаждающей жидкости в рабочей жидкости вариатора указывает на наличие повреждений в стенках радиатора системы охлаждения, которые отделяют охлаждающую жидкость от жидкости в вариаторе.
Внимание: Если рабочая жидкость пенится, слейте ее и залейте новую, а затем проверьте слитую жидкость на наличие в ней охлаждающей жидкости.
Проверка состояния рабочей жидкости
По изменению цвета рабочей жидкости можно судить о подгорании жидкости, износе или разрушении дисков тормозов и муфт, разрушении латунных втулок и т.д.
Нормальный цвет
Нормальная жидкость имеет красный цвет и должна быть прозрачной. Этот цвет является критерием при проверке и это нужно иметь в виду.
Коричневый оттенок
Это говорит о жестких условиях эксплуатации. Вследствие того, что жидкость долгое время находилась в условиях высокой температуры и подгорала, изменяется не только цвет, но и появляется запах гари, снижается вязкость и жидкость на ощупь становится шершавая. Все это можно легко определить. Можно точнее выразить ощущение цвета и сказать, что остается красноватый оттенок. Такой же цвет появляется, когда жидкость долго используется без замены и в этом случае ее необходимо срочно заменить.
Пропадает прозрачность и жидкость чернеет
В этом случае можно предположить, что жидкость загрязнена пылью от дисков муфт, втулок, шестерен.
Особенно жидкость темнеет, когда в нее попадает пыль от износа алюминиевых втулок. Если долго эксплуатировать автомобиль в таком состоянии, то возникнет пробуксовка или появятся посторонние шумы. Во избежание больших потерь, нужно сразу произвести ремонт с переборкой. Но даже если нет особых проблем при эксплуатации, но вы предполагаете, что внутри имеется износ, то первым делом нужно снять масляный поддон, очистить его от металлической пыли или от продуктов износа дисков, вычистить маслоприемную сетку и заменить жидкость. Если в этом состоянии вы почувствуете пробуксовку муфт или посторонние шумы, необходимо срочно произвести капитальный ремонт вариатора.
Появление «лакировки»
Если жидкость долгое время находилась при высокой температуре, появляется явление «лакировки». В этом случае муфты или ленты уже изношены и замена жидкости не поможет. Так как при пробуксовке появляется характерный запах, то пробуксовку легко распознать. Если продолжать эксплуатацию в таком состоянии, то может легко заклинить контрольные клапаны и это повлияет на работу гидротрансформатора.
Появление матового цвета
Так же как и в случае моторного масла, можно сказать, что в масло попало большое количество влаги. Так как в этом случае возможно попадание в рабочую жидкость вариатора охлаждающей жидкости из-за повреждения системы охлаждения, то необходимо произвести ремонт радиатора и охладителя масла и заменить жидкость.
Замена рабочей жидкости в вариаторе
Жидкость заменяется обычно через каждые 60 тыс. км пробега.
Внимание: Если автомобиль был в движении, то дайте трансмиссионной жидкости немного остыть перед сливом, т.к. она может быть слишком горячей. Если автомобиль в движении не был, прогрейте жидкость в вариаторе, проехав на автомобиле в течение 10 минут.
- Поднимите и надежно подоприте автомобиль.
- Подставьте подходящую емкость для слива под вариатор.
- Выкрутите сливную пробку и слейте жидкость.
- Установите сливную пробку обратно. Опустите автомобиль.
- Заливайте жидкость до тех пор, пока она не начнет выходить из шланга радиатора для рабочей жидкости (с возвратной стороны). Для этой процедуры потребуется примерно от 30 до 50% дополнительной жидкости. Объем рабочей жидкости составляет примерно 10,2 л.
Внимание: Пользуйтесь только жидкостью для вариаторов NISSAN NS-2.
- Заливка жидкости производится через чистую воронку с тонкой сеткой.
- Затяните стояночный тормоз и заблокируйте ведущие колеса. Запустите двигатель и прогрейте его до рабочей температуры. Проверьте, нет ли утечек.
- На стоящем автомобиле переместите селектор вариатора через все положения.
- Проверьте уровень и состояние жидкости.